专利号:2020226818864
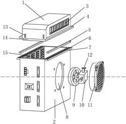
本实用新型公开了一种带有散热片的伺服驱动器,包括机壳、机盖、散热风扇、散热安装架;机盖盖合在机壳的上方,机盖的左侧壁、右侧壁处均固设有一号散热机构;机壳的右侧壁上开设有安装孔,散热安装架插入到安装孔内并可拆卸的安装在安装孔处,机壳的左侧壁处固设有二号散热机构;一号散热机构、二号散热机构均为双层结构,且具有相互平行且交错分布的外层散热片、内层散热片;散热风扇位于机壳内并通过驱动电机连接散热安装架。本新型对伺服驱动器壳体的散热性能进行改善,快速地将伺服驱动器内部的大量热量排出,且提高伺服驱动器的工作安全性;此外,大大便利了本伺服驱动器的检修。
