当前位置:首 页 > 供需中心 > G部--物理

找项目 找人才 找成果 找专利 找融资

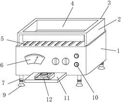
一种电容器断路检测仪
添加时间:2025-12-26 浏览次数: 768

专利号:2021211809513

本实用新型公开了一种电容器断路检测仪,包括外壳,外壳的顶端固设有侧立板,侧立板对称设置有两组,两组侧立板间共同连接有框板,框板形成有下沉式的收纳箱;外壳的前侧底端固连有水平设置的固定平台,固定平台上安装有用于电容器放置的置放机构。本新型无需手扶电容器进行检测操作,可实现高效的检测;同时,可根据该批次待检测电容器的具体情况灵活更换置放机构,极大增加了使用便利性。

友情链接
FRIENDSHIP LINK
惠企知识产权研究院    
联系电话:0631-5166712 联系地址:山东省威海市环翠区城阳路36号606室 联系邮箱:kjcgzhcjh@163.com
版权所有:威海市科技成果转化促进会 鲁ICP备2023019057号-1