专利号:2019103151612
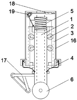
本发明属于清雪车喷嘴技术领域,尤其涉及一种带有主体密封装置的弹簧式热风喷嘴,包括:喷风管、喷嘴主体,喷风管位于喷嘴主体内部,喷风管上设置有喷风管滑动轮;喷风管上还设置有喷嘴弹簧,喷风管的底部设置有接地轮,喷风管底部还设置有越坑装置,喷嘴主体上设置有风量阀门。设置有喷嘴弹簧,在清雪时可以紧贴路面,当遇到车辆压出的冰包时,位于喷嘴下端的接地轮将越过冰包,当冰包较大或者路面有坑损时,设置于喷风管侧面的越坑装置可以辅助接地轮将喷风管抬起,从而越过较大的冰包或者路面坑损,并且由风量阀门控制风量,使越过冰包时可以加大送风量,进而对冰包进行清除。
