专利号:2018110506639
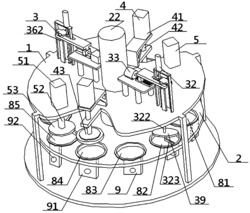
一种多层结构类工具的轮盘式制造系统,包括上下平行设置的固定平盘、转动平盘,以及定位指示/颗粒添加/加热凝结/加压成型/底层衬板添加/顶层衬板添加共六种装置,转动平盘上设置的与各装置对应的凹槽的底部与定位指示装置中的外壳体相连接,凹槽的顶部设置有与颗粒添加装置中定位卡块进行卡接配合的定位卡口,凹槽上近外壳体处设置有一、二号导电片,一号导电片的底部依次经一号导电线、电源盒、中导电线、定位指示灯、二号导电线后与二号导电片的底部进行电路连接,一、二号导电片的侧部之间夹成有与导电柱进行插入配合的导电插槽。本设计不仅工作效率较高,精确度较强,安全性较高,而且产品质量较好,易操作与维护,稳定性较高。
