当前位置:首 页 > 供需中心 > D部--纺织;造纸

找项目 找人才 找成果 找专利 找融资

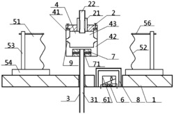
一种聚合物纳米纤维的收集装置
添加时间:2023-10-10 浏览次数: 78

专利号:2017111393243

一种聚合物纳米纤维的收集装置,其内所有的子单元都以装料源部为圆心沿同一圆周均匀设置,子单元包括气源柱、收集底座与收集杆,收集底座的底面与基座的顶面相连接,气源柱的顶端与延伸座的底部相连接,延伸座的侧围与延伸杆的内端相连接,延伸杆的外端与收集杆的顶端相连接,收集杆的底端与收集底座的顶面相连接,收集杆为柔性结构,收集杆与气源柱内设置的多个吹气单元正对设置。本设计不仅能生产纳米纤维,生产效率较高,产品形态多样,而且可调性较强,收集效率较高,可靠性较高。


友情链接
FRIENDSHIP LINK
惠企知识产权研究院    
联系电话:0631-5166712 联系地址:山东省威海市环翠区城阳路36号606室 联系邮箱:kjcgzhcjh@163.com
版权所有:威海市科技成果转化促进会 鲁ICP备2023019057号-1