当前位置:首 页 > 供需中心 > H部--电学

找项目 找人才 找成果 找专利 找融资

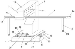
一种耐酸铝合金电缆废料抽芯设备
添加时间:2023-11-01 浏览次数: 89

专利号:2020111829860

本发明属于废料抽芯技术领域,尤其是涉及一种耐酸铝合金电缆废料抽芯设备,包括底座和立臂,立臂与底座固定连接,立臂上固定连接有悬吊机构,悬吊机构的一端延伸至底座的端面上层,底座的端面上设有割断机构,割断机构位于悬吊机构的正下方,底座的一端侧壁上还固定连接有用于配合割断机构和悬吊机构的分料机构。优点在于:本发明可较好对各种长度的废弃耐酸铝合金电缆进行抽芯剥离作业,避免了人工剥离效率较低,过度浪费人力资源的弊端。

友情链接
FRIENDSHIP LINK
惠企知识产权研究院    
联系电话:0631-5166712 联系地址:山东省威海市环翠区城阳路36号606室 联系邮箱:kjcgzhcjh@163.com
版权所有:威海市科技成果转化促进会 鲁ICP备2023019057号-1