专利号:2021101330511
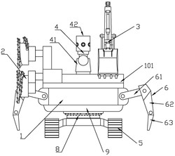
本发明公开了一种复杂工况下的采矿机器人,包括机体和行进机构,其特征在于,所述机体的内部设置PLC中央控制系统和电源模块,机体上部设有开采机构、掘进清障机构和探测预警装置,所述开采机构和掘进清障机构上均设置有控制器,所述控制器分别通过通讯线路连接机身内部设置的PLC中央控制系统。本发明解决了目前现有采矿机器人功能单一、采矿效率低且采矿过程容易引发煤层塌方的问题。它实现了空间较小、隧道崎岖的复杂工况下薄煤层无人化开采,减少煤矿井下高风险工况下的人工开采作业,提高了煤矿开采安全作业度和事故防控能力,降低煤矿开采风险等级,有利于煤矿减人增效,减轻工人劳动强度,大大提高了开采的效率。
